Мастер-класс. Прорезной карман с накладной прямой листочкой
Такие карманы обычно делаются на пальто, плащах, куртках.
Сначала разметьте на лицевой стороне место расположения будущего кармана. Мел или мыло должны быть очень тонко заточены. Все разметки должны быть выполнены с точностью до миллиметров. Это определит красоту будущего кармана.
Для выполнения листочки лучше всего приготовить ее картонный шаблон.
По шаблону выкраиваем листочку: двойной кусок со сгибом. Припуск по длинной стороне должен быть не менее 1,5 см в согнутом виде, по бокам – обычные припуски на обработку.
Проклеиваем листочку клеевой.
Выполненная листочка. Отстрочка производится по модели. В данном примере – двойная строчка.
По изнаночной стороне листочки делаем отметку ее ширины по шаблону.
Прикладываем листочку на размеченную до этого линию входа в карман, перекалываем горизонтально булавками.
Прострачиваем по намеченной линии, не переходя за границы клапана.
После этого отгибаем припуск пристроченной листочки и намечаем параллельно еще две линии. Каждая из них отстает от предыдущей на 1 см. Получившаяся средняя линия – это линия будущего разреза. Намечаем также уголки для разрезания примерно на 1,5 см от вертикальных линий.
На этапе кроя вы должны были скроить 2 мешковины, шириной чуть шире листочки, а глубиной так, чтобы рука могла свободно входить в карман. Скроите даже немного побольше, дальше поймете почему.
- Нарисуйте на одном из краев мешковины линию примерно на 1 см от края и приколите этот край мешковины, совмещая только что нарисованную линию с линий разметки на самом изделии.
- Сначала сколите булавками горизонтально, добиваясь точного совпадения линий разметки на мешковины с линией разметки входа в карман. предыдущий шаг
- После этого вколите вертикальные иголки и вытащите горизонтальные. Строчите по нарисованной линии точно от засечки до засечки
Ответственный момент: разрежьте вход в карман точно по нарисованным до этого линиям. Уголки надо разрезать с особой тщательностью. Нельзя не дорезать, нельзя и перерезать. Все выполняется с точностью до миллиметра.
- Выворачиваем в разрез припуски листочки и подкладку.
- Выметываем линию притачивания листочки.
- Переворачиваем на изнанку, отутюживаем припуск притачивания подкладки
Отворачиваем мешковину. Видно, что уголки отутюжены в середину.
- Притачиваем на припуск листочки вторую часть мешковины.
- Вот так выглядят сейчас обе мешковины.
Опускаем верхнюю из них на нижнюю. Перекалываем. Видно, что размеры их теперь не совпадают.
Подравниваем мешковины между собой. Именно поэтому их надо было скроить немного по-больше, чтобы после выравнивания они не стали слишком маленькими.
Стачиваем мешковины с внутренней стороны, чтобы можно было видеть начало листочки и начать строчить надо именно от нее. Иначе в мешковине может остаться маленькая дырочка.
- Вот так выглядит стачанная мешковина.
Заключительная операция. Переворачиваем на лицо и закрепляем листочку, повторяя строчку точно по уже проложенной до этого отделочной строчке листочки и делая дополнительно уголок между ними.
Вот так выглядит закрепленная листочка. Прячем нитки на изнанку, закрепляя их там, вытаскиваем наметку
Отутюживаем на портновской подушке. Карман готов.
Оригинал записи и комментарии на LiveInternet.ru
Изготовление прорезного кармана с листочкой
Этот карман является фаворитом для всех видов одежды от летней до зимней.
Может иметь горизонтальное, вертикальное расположение или под углом, он частый гость как в мужских, так и в женских изделиях и конечно не обошел своим вниманием и детские изделия. Изготовление кармана с листочкой, как и все прорезные карманы не такое сложное дело как кажется на первый взгляд
Накладные карманы требуют гораздо большего внимания и аккуратности в исполнении
Изготовление кармана с листочкой, как и все прорезные карманы не такое сложное дело как кажется на первый взгляд. Накладные карманы требуют гораздо большего внимания и аккуратности в исполнении.
Располагается такой карман с листочкой на мужских пиджаках с левой стороны на ладонь выше от центра груди. Он может располагаться горизонтально или под наклоном. Длина прорези нагрудного кармана 9-13 см.

На выбранном месте начертить рамку будущего кармана. Длина прорези моего кармана13 см, высота листочки 2 см. С изнаночной стороны укрепить место будущего кармана клеевым флизелином. Из основной ткани вырезать две детали, долевые нити этих деталей должны совпадать с долевой нитью основного изделия.
Одна деталь — это сама листочка (при высоте 2 см и ширине кармана 13)её размер 7 см на 16 см. Вторая — подзор, её размер 9 см на 16 см. Обе детали укрепить клеевым флизелином. Долевая флизелина, что бы предотвратить растяжение, располагается перпендикулярно долевой ткани.
Деталь листочки сложить и заутюжить пополам, с изнаночной стороны отмелить рамку кармана. От сгиба отложить 2 см и остро заточенным мелом провести линию притачивания. отметить краницу прорези кармана 13 см.
На подзоре с изнаночной стороны, отступив от среза 1,5 см провести меловую линию, так же обозначив границу прорези кармана 13 см.

К нижней линии рамки кармана приложить и приколоть листочку, совмещая линии втачивания и границы кармана. Дать строчку. Если ткань не стабильная приметайте.

Деталь подзора приложить и приколоть, руководствуясь фотографией, совмещая линии втачивания. Сделайте проверку, приложите линейку и отметьте меловую линию напротив последнего стежка на листочке с двух сторон. Дайте строчку по подзору. Если сомневаетесь в своих силах приметайте подзор.

Разрезать прорезь кармана, как показано на фото, в углах до строчки не дорезать 1 мм. Вывернуть карман.

Выправить уголки. Дать сточку, закрепляя уголок. Карман отпарить. Если ткань не стабильная прометать по контуру кармана и закрепить листочку. Лучше это сделать шёлковыми нитками, что бы при утюжке не оставались следы от намётки.

Вырезать мешковину кармана шириной 16 см и длиной 21 см. Отвернуть подзор и приколоть мешковину к листочке лицевой стороной. Дать строчку, отпарить.
- Другой конец мешковины приколоть к подзору, дать строчку, отпарить.
Дать строчку по боковым сторонам мешковины. Отпарить.

Снимите меловые линии щёткой или куском велюровой ткани. Карман готов.
Аккуратных карманов с листочкой вам, дорогие рукодельницы!
Буду благодарна, если копируя мои статьи на свой сайт, блог, личную страничку или дневник, укажете ссылку на источник.
Отделочная строчка прорезного кармана
Следующим шагом будет строчка, отмеченная на схеме красным цветом. Часто про не забывают, и вспоминают когда прорезной карман уже полностью «запакован». Так вот сделайте эту отделочную строчку и пойдем дальше.
Теперь можно сделать строчки (С2) мелким стежком и как можно ближе к краю кармана (0,1-0,2см, не более). Этот шов делайте не спеша, поскольку он может испортить внешний вид прорезного кармана.
Теперь уже можно сказать, что обработка прорезного кармана закончена. Как соединить швы мешковины и обработать эти края оверлоком или бейкой, я думаю комментировать нет смысла. Единственное, что могу еще посоветовать, пристрочите верхний край мешковины к срезу пояса и обрежьте ножницами сверху лишнюю ткань подкладки кармана. Только не натягивайте мешковину, иначе в этом месте прорезной карман будет «тянуть» ткань задней половинки брюк.
Начало плетения — формируем донышко
В большинстве изделий для начала необходимо сформировать дно. Есть два варианта: сделать его из картона, к краям приклеив стойки. Вариант простой и понятный. Возможно, для начинающих он лучше — стенки плести немного проще, чем придавать форму донышку. А чтобы концы приклеенных стоек не «царапали» глаз, их накрывают вторым таким же куском картона.
Дно из картона для плетения из газетных трубочек
Из особенностей: в углах надо приклеивать двойное количество трубочек. Одна будет с одной стороны, другая — с другой. Кроме приведенного выше варианта, есть другой способ — наклеить их не на углу, а с двух сторон. В этом случае стойки располагают от угла на расстоянии не более половины шага (это расстояние, на котором вы располагали другие стойки).
Второй вариант — сплести донышко из газетных трубочек. Понадобятся длинные трубочки — срощенные из двух или трех. Способов много, взяты они, в основном, из плетения из лозы. Принцип один — трубочки по одной или группами — переплетают между собой, формируя центр. Затем, используя некоторые из «лозин», оплетают основу, добавляя размер или придавая более округлую форму, если это необходимо.
Круглое дно для изделий большого размера
Немного проще будет, если перекрестить несколько уложенных одна к другой трубочек. На фото (см. ниже) взяли по пять трубочек, переплели их относительно друг друга. Чтобы дно было не таким объемным, его надо примять. Проще всего это сделать скалкой или бутылкой — прокатав несколько раз. Чтобы дальше было проще работать, места пересечения промазываем клеем ПВА.
Плетения дна для квадратных изделий
Далее, берем соломину и начинаем обвязывать дно, пропуская соломину через три трубочки (метод веревочка). Так — через три трубочки — делаем два ряда. Затем — несколько рядов — через две. Несколько — это чтобы размеры дна были почти «как надо» — по форме.
Последние два-три ряда плетем через одну трубочку. Во время плетения надо трубочки основы разводить на одинаковое расстояние. Так оно, вообще-то, и получается, просто необходимо следить, чтобы расстояние было одинаковым.
Заканчиваем плести дно и переходим на стенки
При переходе на плетение стенок, трубочки основы перекрещиваем одну с другой. Так изделие получается более устойчивым и переход более надежным. Для плетения стенок можно использовать рабочие трубочки, которые применяли при плетении дна.
Простой вариант дна из газетных трубочек
Плетение из трубочек дна круглой формы можно начать и проще. Такое дно будет смотреться не так изящно, но для начинающих советуем попробовать именно этот способ.
Для изделия небольшого размера берем восемь длинных трубочек. По четыре складываем «крест на крест». Их также можно прокатать скалкой и место соединения проклеить — меньше будет проблем на старте.
Далее, берем крайнюю правую из трубочек, которые находятся снизу. Загибаем ее, обводим вокруг, трубки то сверху, то снизу. Второй ряд — сразу плетем веревочкой через одну трубку.
Как сплести круглое дно из газетных трубочек
Далее работаем этой трубкой, наращивая по мере надобности. Когда получится дно нужного размера, переходим на стенки.
В описанном варианте получается 15 стоек (16-1). Если надо больше — или добавляем по мере плетения дна, или в исходнике берем большее число.
Фото и схемы плетения дна разной формы
По мере накопления опыта, вам захочется делать изделия других форм — овальных, прямоугольных, многогранных. В разделе собрано несколько схем, показывающих как можно сделать формы более изящными и сложными.
Для овальных корзинокС переплетением шахматкаС увеличением количества стоек и с дублированием стоекВарианты для мастеровРазная форма, принцип одинаков
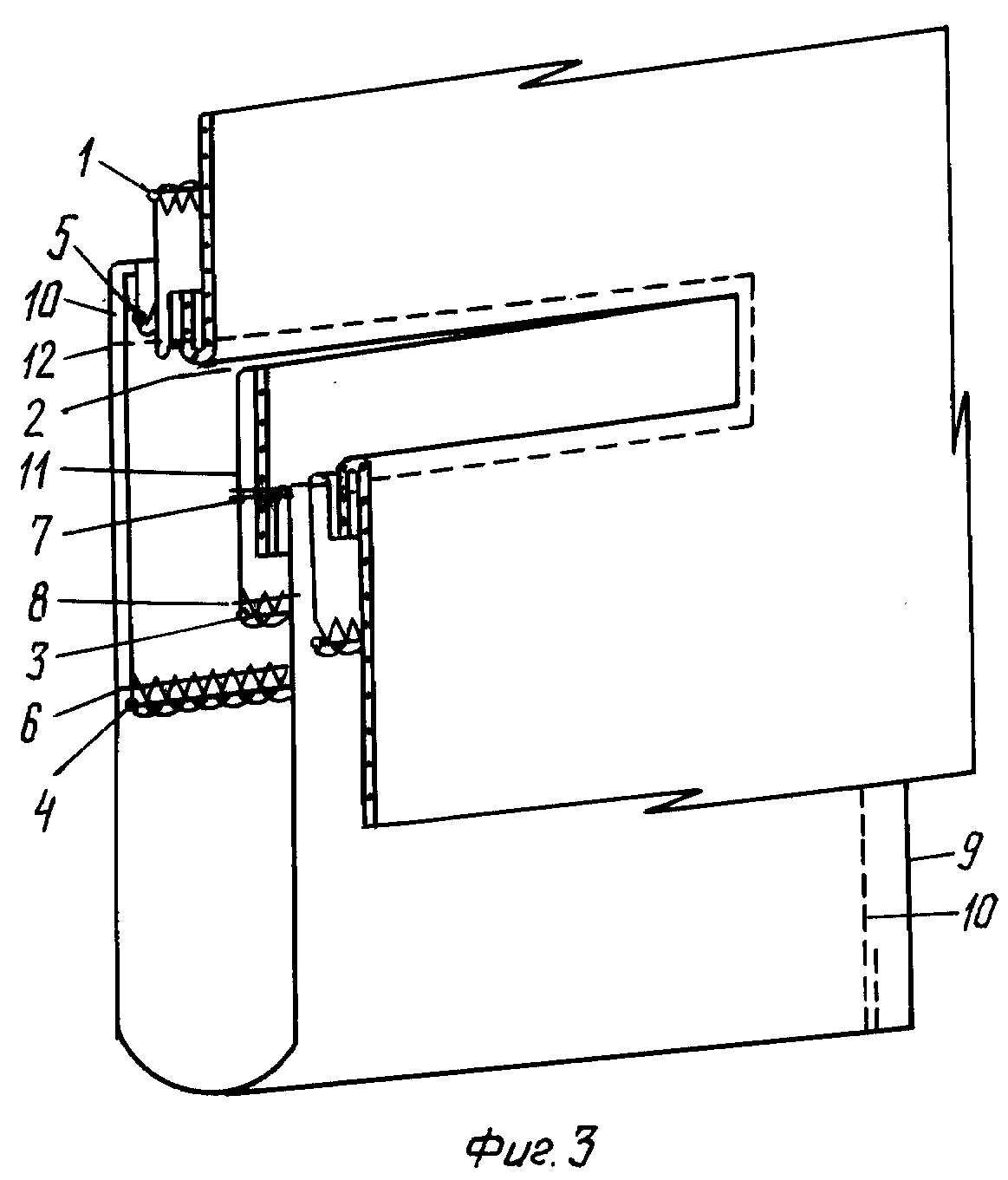
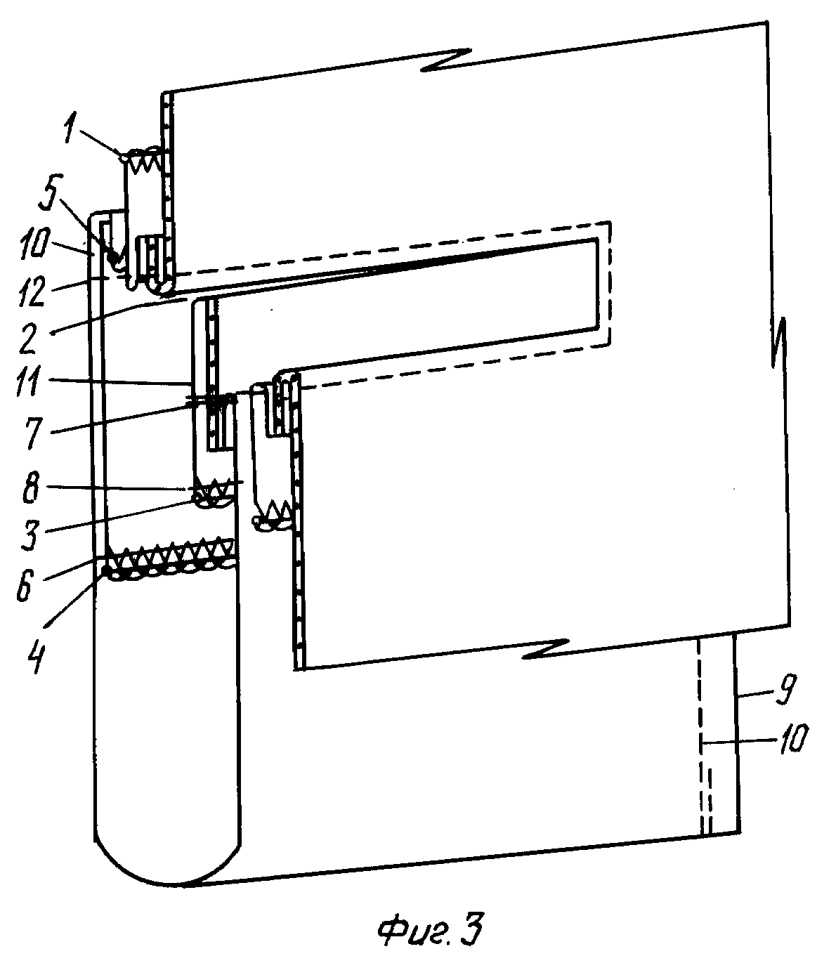
Обработка кармана с листочкой
Для каждого вида обработка будет немного отличаться друг от друга, поэтому рассмотрим их по отдельности пошагово.
Вариация с настрочными краями
Для ее установки проводим подготовительные работы, как написано выше. Далее следуем изложенному ниже порядку действий.
- Заготовку планки укладывают открытым краем к линии прорезания кармана.
- Сверху помещают одну деталь внутренней части кармана.
- Прострачивают конструкцию, при этом начинают и заканчивают шов на уровне узких сторон листочки.
- Чуть выше линии разреза пристрачивают вторую внутреннюю часть.
- Разрезать карман.
- Внутреннюю часть заправить наизнанку.
- Соединить внутренние детали кармана.
- Выполнить отстрочку планки и кармана.

Вариация с втачными краями
Предварительный этап проводится тем же способом. Затем выполнить следующие действия.
- Листочку притачать к внутренней части кармана.
- Шов расправить и заутюжить.
- Пришить часть с листочкой и вторую внутреннюю часть по обеим сторонам разметки разреза.
- Выполнить разрезание ткани.
- Вывернуть детали кармана на изнаночную сторону.
- Расправить все элементы и сшить обе части, при этом закрепив концы листочки двойной строчкой.
- Отутюжить конструкцию.

Красиво шить не запретишь!
Карманы, Мастер-класс, Техника шитья
Последовательность обработки прорезного кармана “в рамку”
Из предыдущей статьи, вы узнали, как построить и выкроить детали кармана. Сегодня, рассмотрим один из способов обработки кармана ” в рамку”.
Разметка кармана на основной детали
На лицевой стороне детали, где будет располагаться карман, мелом, а лучше намёточными стежками, параллельно ранее намеченной линии входа в карман нан
есем две прямые линии на расстоянии друг от друга, равном удвоенной ширине рамки – ав.
Под прямым углом к этим линиям через крайние точки входа в карман (А и Б) намечаем прямые дд. Прямые дд – ограничивают длину входа в карман.
Для наглядности я использую нитки контрастного цвета.
Примётывание верхней мешковины
На изнаночную сторону детали накладываем верхнюю мешковину изнаночной стороной, так, чтобы верхний край мешковины проходил на 1,0 см. выше верхней линии разметки кармана, а припуски на ширину шва по боковым срезам располагались симметрично рамке.
Примётываем мешковину.
Приметывание и притачивание обтачек
Верхнюю и нижнюю обтачки перегибаем по линиям сгиба изнаночной стороной внутрь и приутюживаем.
Заготовленные обтачки накладываем на лицевую сторону основной детали сгибами к линиям разметки кармана, а срезами – навстречу друг к другу. Приметываем и притачиваем по намеченным линиям.
Примётывать обтачку нужно не точно по разметке, а отступив от нее 0,1 см, чтобы позже строчить по намеченной линии, не задевая нитки намётывания.
После того, как вы приметаете и притачаете верхнюю обтачку, лучше приколоть ее срез к основной ткани, чтобы нечаянно не захватить обтачку при притачивании нижней обтачки.
Важно: нужно следить, чтобы строчки не выходили за пределы рамки, иначе карман не получится!
После притачивания проверяем с изнаночной стороны, не смещены ли строчки относительно друг друга по длине.
Для образования входа в карман разрезаем основную деталь и мешковину с изнанки посередине между строчками.
Разрез нужно начать от середины в обе стороны, не доводя до концов строчек на 1,0-1,5 см. и закончить наклонными рассечками по направлению к строчкам.
Рассечки также не должны доходить до конца строчек на 0,1 см.
После этого запасы обтачек нужно перегнуть через разрез кармана, выворачивая на изнаночную сторону основной детали и направляя срезы верхней обтачки – вверх, а нижней – вниз.
Образованные рассечками уголки, выправляем, отгибаем и закрепляем на обтачках двойной строчкой, перпендикулярно к линии разреза.
Сгибы обтачек смётываем крестообразными или косыми стежками, удаляем нити примётывания мешковины.
Рамку кармана проутюживаем с изнаночной стороны.
После утюжки срез нижней обтачки подгибаем на изнанку на 1,0 см., намётываем на мешковину и настрачиваем у самого сгиба.
Если обтачки выкроены из плотной ткани, то срез нижней обтачки можно обметать и настрочить, для уменьшения толщины шва.
Примётывание и притачивание нижней мешковины
Нижнюю мешковину накладываем на верхнюю лицевыми сторонами внутрь, уравниваем срезы, смётываем и стачиваем со стороны верхней мешковины, отгибая основную деталь, шириной шва от 0,75 до 1,5 см.
В верхней части мешковины шов стачивания должен подходить вплотную к шву притачивания обтачки! Срезы мешковин обмётываем.
Прорезной карман “в рамку” готов!
Вид кармана с изнаночной стороны.
Скоро расскажу о необычном и простом способе обработки кармана “в рамку”. Следите за выпусками.
С пожеланиями удачи, Елена Красовская
Это интересно:
- Как обработать низ изделия и рукава.18…
- 18 способов обработки низа изделия и…
- Необычный накладной карман для пальто и…
- Шьём вещь со сборкой на нитку-резинку и……
- Как сшить детскую шапку с «ушками». Шьём…
- Как сшить трикотажное платье за пару часов
Как сделать карман с листочкой
При пошиве кармана с листочкой следует выполнить несколько этапов.
Изготовление листочки
Первым делом изготавливается сама деталь.
- Для этого из ткани вырезается прямоугольная заготовка. Обычно ее размеры равняются 20Х10 см.
- Перегибаем пополам деталь изнаночной стороной кверху.

Выворачиваем на лицо и хорошенько утюжим.
Внутренняя часть
Далее готовим внутреннюю часть кармана. Для этого из дополнительного материала выполняем две заготовки. Для выкройки прикладываем к листу бумаги руку и обводим границу ладони.

Разметка
Затем размечаем место расположения кармана.
- На лицевой стороне портняжным мелом отмечаем, где будет находиться данная деталь.
- Измеряем длину готовой планки.
- Чертим отрезок по размеру планки.
Затем приступам к процессу монтажа конструкции. Рассмотрим подробно, как это происходит.
Как сделать карман с листочкой на молнии
Во многих изделиях листочка соседствует с застежкой-молнией. Многие знают, как выполнить эти элементы по отдельности. Но их совмещение может завести их в тупик. Для того чтобы не возникло такой неприятности, предлагаем разобраться в этом методе подробно.

Для работы вам потребуется: листочка, дополнительная ткань для внутренней части и молния нужной длины.
Процесс выполнения
- Начертить на лицевой стороне изделия рамку для работы.
- Выполнить элемент планки так, как описано выше.
- Продублировать участок кармана дополнительным материалом.
- Разместить в нужном месте деталь планки.
- Аккуратно притачать планку к изделию.
- Ко второй стороне притачать соответствующий край молнии.
- Выполнить соединительный шов.
- Разрезать рамку.
- Вывернуть элементы наизнанку и зафиксировать в нужном положении при помощи английских булавок.
- Стачать молнию и листочку.
- Выполнить декоративную отстрочку кармана.
- Притачать к оставленным припускам внутренние детали кармана.
- Конструкция готова к использованию.
Для неопытных рукодельниц, зачастую столкновение с такими мелочами может стать роковым. После испытанной неудачи немногие решатся повторить попытку. Но используя чужой опыт, можно избежать таких неприятностей. А повторяя одну и ту же операцию несколько раз, вы оттачиваете свое мастерство, с каждым разом становясь все ближе к совершенству. Поэтому при неудачах не стоит опускать руки. Даже маститые профессионалы иногда ошибаются. Просто воспринимайте это как данность, и удача улыбнется вам. Приятной творческой работы!
Как связать карман на кардигане, кофте спицами?
Женские солнечные очки лисички
Корзина для цветов
Первым делом, нужно суметь нарисовать корзину на листке бумаги. Пусть она будет округлая либо с прямоугольными краями. Возьмите коричневую ленту, и начинаем делать тем швом, который нам знаком из текста, все очертание корзины. Закрепляем конец ленты с изнаночной стороны. Если хотите, чтобы вышивка из лент, получилась эффектней, можете комбинировать несколько оттенков коричневого цвета для корзины. Далее, делаем поперечные швы, переплетая их с горизонтальными полосами. Посмотрите на фото, должна образоваться такая же сетка. Такое оригинальное плетение, в дальнейшем, можно использовать в вышивке крыш домов и заборов, а также предметов мебели. Прямыми стежками делаем ручку корзины, в изогнутом виде. Вот и готова первая корзина.
Обработка накладного кармана с клапаном
Поздороваться, отметить отсутствующих, проверить готовность к уроку и назначить дежурных.
Повторение пройденного осуществить с помощью мячика или др. игрушки.
Начинает учитель, задав вопрос кидает
мячик любой из учениц. Ученица отвечает на вопрос и перекидывает мяч др., ит.д.
Вопросы: значение термина «сметать», как назвать операцию по соединению
отдельных деталей? И т.д.
Карманы делают нашу одежду красивее и удобней. Мода, стиль одежды, её
назначение диктуют ту или иную
конструкцию кармана, форму, размер. Рассмотрите конструкцию предложенных карманов ( плакат или слайд). Какие
виды карманов вы знаете и встречали? Какие из них подходят к одежде спортивного
стиля? Для повседневной одежды? Нарядной? Где впервые вы познакомились с
накладным карманом.
Сегодня мы с вами познакомимся с разновидностью накладного кармана, а
именно карман с клапаном. Клапан – это деталь, которая служит для закрывания входа в карман. Он,
может быть самостоятельной деталью
выполняя декоративную роль (демонстрация на примерах одежды девушек).Сейчас нам
предстоит разработать различные модели этого кармана, т.е. проявить своё
творчество. Девушки выполняют моделирование кармана с клапаном.
А теперь нам предстоит выполнить наш карман
используя различные лоскутки ткани, тесьму, пуговицы. А инструкционные карты и карты опорных
сигналов помогут правильно его обработать. На рабочих местах у вас
простейший вид этого кармана. Внимательно рассмотрите его
Особое внимание
обратите на клапан, он состоит из двух частей – верхняя часть из основной ткани, а вот нижняя часть может быть
выполнена как из основной, так и из подкладочной ткани подходящей по цвету. Последовательность обработки
кармана с клапаном перепишите в тетрадь с доски (плакат, слайд), карточки с
опорными сигналами у вас лежат на столах
Переходим к выполнению практической
работы. При выполнении работы необходимо соблюдать правила Тб при работе на ш/м,
с ножницами и колющими инструментами, при работе с утюгом, соблюдать правила
раскроя
Последовательность обработки
кармана с клапаном перепишите в тетрадь с доски (плакат, слайд), карточки с
опорными сигналами у вас лежат на столах. Переходим к выполнению практической
работы. При выполнении работы необходимо соблюдать правила Тб при работе на ш/м,
с ножницами и колющими инструментами, при работе с утюгом, соблюдать правила
раскроя
Давайте все вместе их вспомним. Учащиеся называют эти правила. Учитель при необходимости добавляет то, чего
они не назвали.
Внимание: выполняя работу необходимо помнить, что долевые нити у кармана
и клапана идут вдоль основной детали т.е. совпадают. Во время работы учитель совершает целевые обходы с целью контроля за
правильностью выполнения операций, соблюдения правил ТБ, выявления и устранения
ошибок и недочётов в работе
Проверка готовых изделий и их оценивание. Демонстрация наилучших работ.
Определение наиболее часто встречающихся ошибок, разъяснение.
Уборка класса, д/з.
Кондратова Е.М.
| Комментариев к новости «Конспект урока. Обработка накладного кармана с клапаном» уже 0:
Как пришить накладной карман изнутри.
Если у вас есть время и терпение, а отстрачивать карманы декоративной строчкой вы не хотите, то для вас – способ пришить карман изнутри машинной строчкой.
После того, как вы расположили детали на изделии и приметали, прострочите вдоль края кармана строчкой «зигзаг» – фото 15. Лучше, если это будет сделано нитью контрастного цвета – легче будет потом удалять стежки. Удалите наметку.
Как пришить накладной карман изнутри
В режиме прямой строчки, притачайте карман к изделию с изнаночной стороны вдоль проглаженного края сгиба – фото 16.
Аккуратно открывайте карман в процессе притачивания, а зигзагообразные стежки не позволят ему сместиться – фото 17. Закрепите уголки несколькими стежками. Удалите наметочную машинную строчку «зигзаг» с изнаночной стороны.
Накладной карман с подкладкой.
Проклейте детали карманов с припусками термотканью – фото 6. В карманах с подкладкой можно проклеить полностью или только по размеру готового кармана.
Деталь подкладки выкраивается короче детали кармана с цельнокроеной обтачкой. Если высота обтачки у вас 3 см, то высота подкладки равна высоте кармана минус 3 см.
Накладной карман с подкладкой
Совет:
Проще всего выкроить подкладку по лекалу кармана, добавив 1 см припуска по боковым сторонам и нижнему краю. А потом, когда вы соедините верхние края подкладки и основной детали по верхнему срезу, и прогладите сгиб с лицевой стороны так, как он будет в готовом изделии, обрезать подкладку по форме выкроенного кармана.
Стачиваем карман и подкладку по верхнему срезу.
Соедините детали кармана и подкладки лицевыми сторонами друг к другу. Стачайте верхний срез, оставив в середине не застроченным участок длиной 3 – 4 см – через него вы потом выверните карман, когда он будет прострочен по боковым срезам и нижнему краю – фото 7 (прогиб подкладки в центре).
Прогладьте верхний сгиб, сложив детали изнаночной стороной друг к другу так, как они будут в готовом изделии. Если необходимо, скорректируйте размер подкладки, обрезав излишек ткани.
Затем снова сложите деталь кармана и подкладки лицевыми сторонами внутрь, совместив края – фото 8. Наметайте и прострочите по намеченной линии готового кармана. Срежьте припуски до 3 мм.
Выверните карман на лицевую сторону и проутюжьте, слегка смещая шов в сторону подкладки – фото 9.
Совет.
Чтобы это было легко сделать и не получились складочки на подкладочной ткани, срежьте по 1 мм вдоль боковых сторон подкладки после того, как вы сделали ее точно по размеру детали кармана – она станет уже на 2 мл. Но при наметке соедините края основной детали и подкладочной ткани так, чтобы они совпадали. Наметывайте со стороны подкладки, а стачивайте со стороны основной детали по линии, проведенной по лекалу.
Если вы уверены в том, что все сделали правильно, а на полочках наметочные линии границ карманов расположены симметрично, то можете нанести полоску шириной 3 мм специального плавкого клея по контуру кармана со стороны подкладки. Подержите над ней несколько минут подошву утюга на расстоянии 3 см, чтобы клей нагрелся – фото 10.
Затем приложите карман на изделие по наметочным линиям и через хлопковую ткань прогрейте паром – фото 11. Достаточно нескольких секунд. Затем можно отстрочить накладной карман декоративной строчкой.
Виды накладных карманов.
Накладные карманы могут быть прямоугольной и квадратной формы, с острыми углами или закругленными, со складками, которые придают объем, или без них.
Накладные карманы в пальто и жакетах
Они могут быть выполнены из ткани изделия, из ткани контрастного цвета, из меха или трикотажа, как в модели стильного кейпа модного оттенка серого цвета. Часто накладные карманы комбинируют с клапанами прямоугольной формы
Виды накладных карманов
Обычно, карманы любого типа – парные, и расположены на полочках изделия симметрично, как в модели блейзера справа. Но в последнее время неписанные правила дизайнерами игнорируются: в коллекциях вы можете увидеть, например, двубортное пальто с одним накладным карманом, или с двумя, но разного размера, и расположенными в произвольном порядке – фото пальто из ткани в клетку в центре коллажа. Для начинающих мастериц такие варианты – просто находка.
Пальто и жакет с накладными карманами
В блузках делового стиля, накладные карманы, как правило, прямоугольной формы, а для праздничной модели вы можете выбрать карманы с фигурной или треугольной линией низа. Их можно декорировать тесьмой, вышивкой или кружевами.
Красивые блузки с накладными карманами
Желаю удачи! Ведь научиться шить и моделировать самостоятельно – это не только экономия семейного бюджета, но и возможность всегда быть одетой модно и стильно.
Рекомендую мастер-класс с фото «Выкройки и моделирование английского воротника».
Виды листочки
Такая конструкция служит для обработки края кармана одежды, его усиления и декорирования. Листочка(планка) может быть прямоугольной или фигурной формы. По методу вшивания можно выделить два варианта листочки.
С втачными концами
Этот вид более прост в установке и поэтому лучше подходит для начинающих мастериц. При данном способе все швы остаются с изнаночной стороны. А неширокая планка проходит параллельно нижнему слою.

С настроченными концами
Он чаще всего применяется для верхней одежды. Визуально от первого эта вариация отличается внешними отделочными строчками с нескольких сторон. А также способом их изготовления. Такая планка зачастую имеет достаточную ширину для установки фиксирующего механизма: петли для пуговицы, кнопки и так далее.
Обработка кармана с листочкой
Для каждого вида обработка будет немного отличаться друг от друга, поэтому рассмотрим их по отдельности пошагово.
Вариация с настрочными краями
Для ее установки проводим подготовительные работы, как написано выше. Далее следуем изложенному ниже порядку действий.
- Заготовку планки укладывают открытым краем к линии прорезания кармана.
- Сверху помещают одну деталь внутренней части кармана.
- Прострачивают конструкцию, при этом начинают и заканчивают шов на уровне узких сторон листочки.
- Чуть выше линии разреза пристрачивают вторую внутреннюю часть.
- Разрезать карман.
- Внутреннюю часть заправить наизнанку.
- Соединить внутренние детали кармана.
- Выполнить отстрочку планки и кармана.

Вариация с втачными краями
Предварительный этап проводится тем же способом. Затем выполнить следующие действия.
- Листочку притачать к внутренней части кармана.
- Шов расправить и заутюжить.
- Пришить часть с листочкой и вторую внутреннюю часть по обеим сторонам разметки разреза.
- Выполнить разрезание ткани.
- Вывернуть детали кармана на изнаночную сторону.
- Расправить все элементы и сшить обе части, при этом закрепив концы листочки двойной строчкой.
- Отутюжить конструкцию.

Мои петельки и стежки: Кармашек прорезной на молнии
В процессе пошива куртки фотографировала как шила карман в рамку на молнии — вдруг кому пригодится))) В этот раз карман сделала «красивый внутри» — так я называю такие кармашки. У них внутри края молнии не видны: Сначала нарисовала на выкройке вход в карман и размер кармана — на фото карандашные линии (ручкой нарисован контур кармана по модели в журнале): Затем сделала 2 выкройки-шаблона для удобства кроя кармана, а в большей степени для удобства объяснения : На фото где они рядом, видно чем шаблоны различаются. Резать выкройки будем по красным линиям, заштрихованную часть займет молния, ее в крой не берем.
Выкраиваю детали кармана — подзор из основной ткани, остальные детали из карманки, припуски оставляю везде, кроме боковых сторон, на фото видно. Можно, конечно, и там сделать припуски, потом срезать, главное выкроить так, чтобы лапкой машинки можно было свободно подлезть при сшивании мешковин с боку. Также готовлю молнию и обтачку для рамки — кусочек основной ткани, выкроенный по долевой — его размер больше рамки как минимум на 1 см с каждой стороны (а лучше на 1,5-2см, удобнее выворачивать будет): Стачиваю детали: подзор+карманка, верхняя деталь карманки+нижняя деталь карманки+молния между ними: Как пришить подзор вполне понятно, а вот вторую деталь покажу ближе. Молнию нужно пришить изнанкой к лицевой стороне карманки: У меня была молния «на метраж», поэтому к ее краям я предварительно пришила кусочки карманки, расстояние между этими кусочками чуть больше рамки, чтобы при расстегивании кармана эти кусочки не были видны: Я пришиваю кусочки, если молния по длине точно такая же как рамка, если же она длиннее, то необходимость в надставке отпадает, все «щели» между деталями карманки закроет сама молния. (Может, сложно понять сразу о чем я говорю сейчас, но как только шить начнете — все встанет на свои места ) Затем размечаю на полочке место кармана: Рисую рамку на обтачке, прикалываю обтачку к полочке, совмещая разметку:
Строчу по намеченной линии, по периметру, удобнее начинать не от угла, а на длинной стороне. Разрезаю полочку, как на фото, не доходя в углах немного:
Выворачиваю обтачку на изнаночную сторону (здесь я еще утеплитель предварительно срезала, чтобы рамка аккуратнее была) и выметываю рамку:
С изнанки подкладываю деталь карманки с молнией, прикалываю (можно приметать для надежности) и строчу по краю рамки. Вот так выглядит будущий карман на этом этапе с лицевой стороны
и с изнанки полочки
Прикалываю деталь с подзором и по контуру кармана делаю двойную строчку (можно и усиленным стежком пройтись):
В изделиях без подкладки надо еще и обметать.
По лицевой стороне полочки делаю закрепляющий шов буквой «П», строчу точно в проложенный шов притачивания карманки с молнией, чтобы не было лишних швов. У кого отстрочка двойная — тройная, можно отступать, главное по коротким сторонам рамки хорошие закрепки поставить, на них большая нагрузка при наполненном кармане будет (на самых последних фото карман мой еще без этой строчки, чтобы лучше можно было сфотографировать его внутренность). Кармашек готов. При расстегивании виден подзор и внутри — красота! Спасибо, что дочитали до конца! Буду рада, если кому-то пригодится)))
mamayousia.blogspot.com
Как выполнить карман с листочкой на молнии
Во многих изделиях листочка находится по соседству с застежкой-молнией. Все знают, как выполнить такие элементы отдельно. Однако их сочетание может завести их в тупик. Для того чтобы не появилось подобной неприятности, рекомендуем разобраться в таком способе детально.

Для работы вам потребуется: листочка, добавочная ткань для внутренней части и молния необходимой длины.
Процесс выполнения
- Нарисовать с лицевой стороны изделия рамку для работы.
- Выполнить компонент рейки так, как мы уже описали выше.
- Продублировать участок кармана добавочным материалом.
- Расположить в необходимом месте деталь рейки.
- Бережно притачать рейку к изделию.
- Ко обратной стороне притачать подходящий край молнии.
- Выполнить соединительный шов.
- Разрезать рамку.
- Вывернуть детали наизнанку и закрепить в необходимом положении с помощью английских булавок.
- Стачать молнию и листочку.
- Выполнить декоративную отстрочку кармана.
- Притачать к оставленным припускам внутренние детали кармана.
- Конструкция готова к применению.
С чем носить красные кроссовки мужские рекомендации
Для малоопытных мастериц, очень часто столкновение с подобными мелочами может стать роковым. После испытанной неудачи немногие решатся повторить попытку. Но применяя чужой навык, получиться избежать подобных неприятностей. А повторяя одну и ту же операцию пару раз, вы оттачиваете собственное мастерство, с каждым разом становясь все ближе к идеалу. По этому при неудачах не стоит опускать руки. Даже маститые профессионалы порой совершают ошибки. Просто воспринимайте это как данность, и удача улыбнется вам. Приятной творческой работы!
Обработка кармана с листочкой
Для каждого вида обработка будет немного отличаться друг от друга, поэтому рассмотрим их по отдельности пошагово.
Вариация с настрочными краями
Для ее установки проводим подготовительные работы, как написано выше. Далее следуем изложенному ниже порядку действий.
- Заготовку планки укладывают открытым краем к линии прорезания кармана.
- Сверху помещают одну деталь внутренней части кармана.
- Прострачивают конструкцию, при этом начинают и заканчивают шов на уровне узких сторон листочки.
- Чуть выше линии разреза пристрачивают вторую внутреннюю часть.
- Разрезать карман.
- Внутреннюю часть заправить наизнанку.
- Соединить внутренние детали кармана.
- Выполнить отстрочку планки и кармана.

Вариация с втачными краями
Предварительный этап проводится тем же способом. Затем выполнить следующие действия.
- Листочку притачать к внутренней части кармана.
- Шов расправить и заутюжить.
- Пришить часть с листочкой и вторую внутреннюю часть по обеим сторонам разметки разреза.
- Выполнить разрезание ткани.
- Вывернуть детали кармана на изнаночную сторону.
- Расправить все элементы и сшить обе части, при этом закрепив концы листочки двойной строчкой.
- Отутюжить конструкцию.






































